登录  免费注册

安阳高新区国家级示范生产力促进中心

Anyang High-tech Zone National Demonstration Productivity Promotion Center

首页 平台简介 科技成果转移转化 专利监控管理系统(RIMS) 五大产业数据库 科技创新主体展示 技术合同登记展示

一种新能源混合发电装置及使用方法

发布时间:2025-10-11
  • 专利类型:发明专利
  • 日期 :2025-10-11
  • 专利名称:一种新能源混合发电装置及使用方法
  • 专利权人 : 安阳师范学院
  • 联系电话 :2110568

交易价格(万元):面谈

专利详情

专利类别 :发明专利 专利号 : 202110493482.9 申请日期 : 2021-05-07
公开日期 :2022-06-28 专利名称 : 一种新能源混合发电装置及使用方法 专利权人 :安阳师范学院
国际分类号: 暂无 范畴分类号 : 暂无 行业分类 : 暂无
详情介绍:

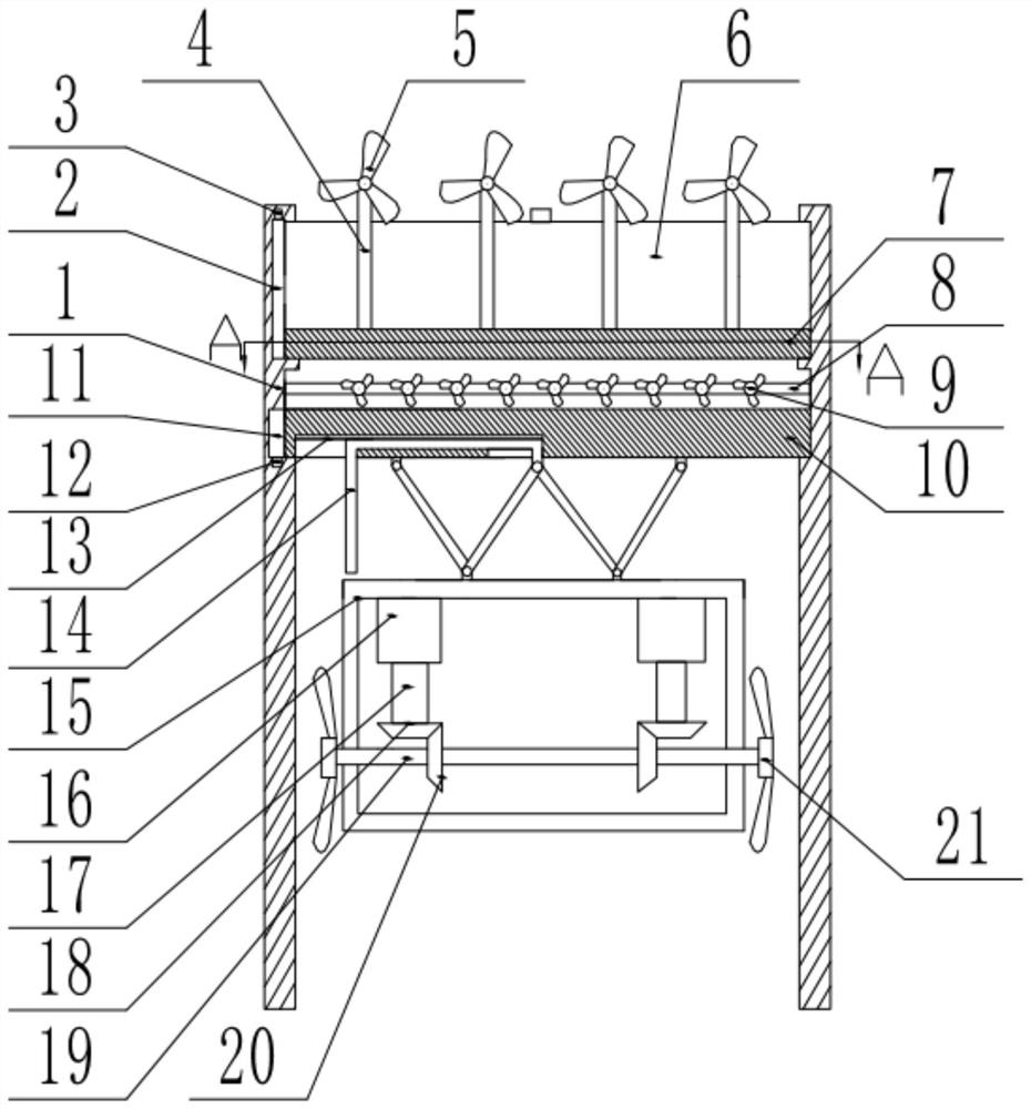
本发明公开一种新能源混合发电装置,包括固定杆件、浮板和垫板,所述固定杆件包括固定杆一、固定杆二、固定杆三与固定杆四,所述固定杆一、固定杆二、固定杆三与固定杆四呈十字型分布在浮板的四周,所述浮板分别与固定杆一、固定杆二、固定杆三以及固定杆四滑动连接,通过在浮板上设置浪潮发电组件一,由于浮板自身的浮力漂浮在海面上,浮板上方的扇叶在有风的情况下可以进行风力发电,同时可根据风向,通过第一电机带动浮板的自身旋转,达到扇叶与风向吻合,发电效率更高。本发明可通过调整风扇及水下涡轮的角度方向,可以更准确的对准风、水流的运动方向,提升发电的效率,风力发电与水流发电结合,效率高,资源利用率大。

服务流程

服务流程

买方卖方

身份 买家提供 卖家提供 交易服务 过户后您将会获得
企业

企业申请

执照

企业营业执照

组织机构代码证

执照

企业营业执照

专利证书证件

专利代理委托书
专利权转让协议
办理文件副本请求书
发明人变更声明

专利委托书

手续合格通知书

专利登记薄副本

个人

个人申请

身份

身份证

执照

身份证

专利证书证件

服务承诺

  • 证明

    确保拿到
    核准专利转让证明

  • 证明

    确保拿到
    转让受理通知书

  • 证明

    专利转让
    全程监控

  • 证明

    专利转让完成
    享受专利最低待遇

  • 证明

    免费客服热线
    快速回复客户问题

安阳高新区国家级示范生产力促进中心

浏览量: 1340618人

联系电话:0372-2110568

传真:0372-2110568

地址:河南省安阳市高新区弦歌大道与峨嵋大街交叉口向东100米路南科创大厦

www.ayipx.cn 版权所有 严禁转载!豫ICP备17028958号 公网安备 41050202000126 河南相映红信息技术有限公司 【后台管理】

0372-2110568