登录  免费注册

安阳高新区国家级示范生产力促进中心

Anyang High-tech Zone National Demonstration Productivity Promotion Center

首页 平台简介 科技成果转移转化 专利监控管理系统(RIMS) 五大产业数据库 科技创新主体展示 技术合同登记展示

一种基于二维半导体材料薄膜晶体管

发布时间:2025-10-11
  • 专利类型:实用新型
  • 日期 :2025-10-11
  • 专利名称:一种基于二维半导体材料薄膜晶体管
  • 专利权人 : 安阳师范学院
  • 联系电话 :2110568

交易价格(万元):面谈

专利详情

专利类别 :实用新型 专利号 : 202220843642.8 申请日期 : 2022-04-12
公开日期 :2022-08-02 专利名称 : 一种基于二维半导体材料薄膜晶体管 专利权人 :安阳师范学院
国际分类号: 暂无 范畴分类号 : 暂无 行业分类 : 暂无
详情介绍:

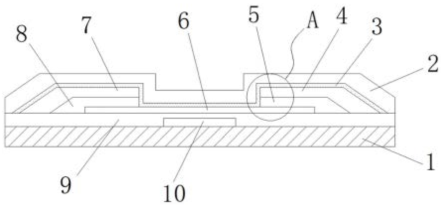
本实用新型公开了一种基于二维半导体材料薄膜晶体管,包括柔性垫底板,所述柔性垫底板的顶端设置有氧化物有源层,所述氧化物有源层顶端的一侧固定连接有源极,所述氧化物有源层顶端的另一侧固定连接有第二金属层,所述源极的顶端固定连接有第一金属层。该基于二维半导体材料薄膜晶体管通过设置有透明保护膜,在加工该薄膜晶体管时,在两侧第一金属层和漏极的顶端涂敷连接层,且在连接层的顶端贴敷透明保护膜,并使透明保护膜的两侧紧贴在栅极绝缘层的顶端,使透明保护膜将第一金属层和漏极罩在底部,从而对底端的第一金属层和漏极以及源极和第二金属层进行保护,防止该薄膜晶体管上的组件受损,解决的是防护效果不足的问题。

服务流程

服务流程

买方卖方

身份 买家提供 卖家提供 交易服务 过户后您将会获得
企业

企业申请

执照

企业营业执照

组织机构代码证

执照

企业营业执照

专利证书证件

专利代理委托书
专利权转让协议
办理文件副本请求书
发明人变更声明

专利委托书

手续合格通知书

专利登记薄副本

个人

个人申请

身份

身份证

执照

身份证

专利证书证件

服务承诺

  • 证明

    确保拿到
    核准专利转让证明

  • 证明

    确保拿到
    转让受理通知书

  • 证明

    专利转让
    全程监控

  • 证明

    专利转让完成
    享受专利最低待遇

  • 证明

    免费客服热线
    快速回复客户问题

安阳高新区国家级示范生产力促进中心

浏览量: 1340617人

联系电话:0372-2110568

传真:0372-2110568

地址:河南省安阳市高新区弦歌大道与峨嵋大街交叉口向东100米路南科创大厦

www.ayipx.cn 版权所有 严禁转载!豫ICP备17028958号 公网安备 41050202000126 河南相映红信息技术有限公司 【后台管理】

0372-2110568