登录  免费注册

安阳高新区国家级示范生产力促进中心

Anyang High-tech Zone National Demonstration Productivity Promotion Center

首页 平台简介 科技成果转移转化 专利监控管理系统(RIMS) 五大产业数据库 科技创新主体展示 技术合同登记展示

一种具有光伏发电与无线充电功能的巡检机器人

发布时间:2025-10-11
  • 专利类型:实用新型
  • 日期 :2025-10-11
  • 专利名称:一种具有光伏发电与无线充电功能的巡检机器人
  • 专利权人 : 安阳师范学院
  • 联系电话 :2110568

交易价格(万元):面谈

专利详情

专利类别 :实用新型 专利号 : 202120530733.1 申请日期 : 2021-03-15
公开日期 :2021-12-10 专利名称 : 一种具有光伏发电与无线充电功能的巡检机器人 专利权人 :安阳师范学院
国际分类号: 暂无 范畴分类号 : 暂无 行业分类 : 暂无
详情介绍:

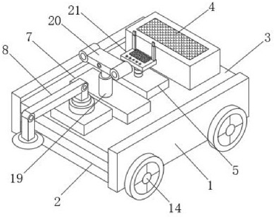
本实用新型公开了巡检机器人技术领域的一种具有光伏发电与无线充电功能的巡检机器人,包括两个所述加强板与充电电路板,两个所述加强板相邻一侧的底部均固定连接有第一底盘,两个所述加强板相邻一侧的顶部均固定连接有第二底盘,所述第二底盘顶部的后侧安装有太阳能光伏发电板;本实用新型利用太阳能光伏发电,给巡检机器人提供更长的续航能力,节约电能;高清摄像头与机械臂以及WIFI接收器的结合,可以远距离完成更多高难度检查任务;无线充电与太阳能光伏发电结合,充电快捷方便,效率提升,搭配充电电路板可以满电自断,防止过充;采用双层底盘可搭载更多外设,电机采用密封装置,可达到防潮放水的效果。

服务流程

服务流程

买方卖方

身份 买家提供 卖家提供 交易服务 过户后您将会获得
企业

企业申请

执照

企业营业执照

组织机构代码证

执照

企业营业执照

专利证书证件

专利代理委托书
专利权转让协议
办理文件副本请求书
发明人变更声明

专利委托书

手续合格通知书

专利登记薄副本

个人

个人申请

身份

身份证

执照

身份证

专利证书证件

服务承诺

  • 证明

    确保拿到
    核准专利转让证明

  • 证明

    确保拿到
    转让受理通知书

  • 证明

    专利转让
    全程监控

  • 证明

    专利转让完成
    享受专利最低待遇

  • 证明

    免费客服热线
    快速回复客户问题

安阳高新区国家级示范生产力促进中心

浏览量: 1340616人

联系电话:0372-2110568

传真:0372-2110568

地址:河南省安阳市高新区弦歌大道与峨嵋大街交叉口向东100米路南科创大厦

www.ayipx.cn 版权所有 严禁转载!豫ICP备17028958号 公网安备 41050202000126 河南相映红信息技术有限公司 【后台管理】

0372-2110568