登录  免费注册

安阳高新区国家级示范生产力促进中心

Anyang High-tech Zone National Demonstration Productivity Promotion Center

首页 平台简介 科技成果转移转化 专利监控管理系统(RIMS) 五大产业数据库 科技创新主体展示 技术合同登记展示

一种新能源自动充电桩

发布时间:2025-10-11
  • 专利类型:实用新型
  • 日期 :2025-10-11
  • 专利名称:一种新能源自动充电桩
  • 专利权人 : 安阳师范学院
  • 联系电话 :2110568

交易价格(万元):面谈

专利详情

专利类别 :实用新型 专利号 : 202122040898.3 申请日期 : 2021-08-27
公开日期 :2022-01-08 专利名称 : 一种新能源自动充电桩 专利权人 :安阳师范学院
国际分类号: 暂无 范畴分类号 : 暂无 行业分类 : 暂无
详情介绍:

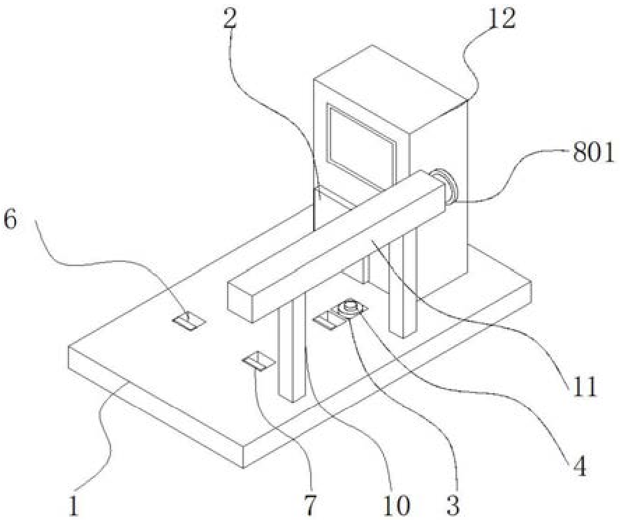
本实用新型公开了一种新能源自动充电桩,涉及充电桩技术领域,包括底板,还包括限位结构、调节结构和防撞击结构,所述底板顶端的一侧安装有主体,且主体的一侧安装有固定伸缩杆,所述固定伸缩杆的外壁套设有伸缩弹簧,且固定伸缩杆的一端安装有缓冲板,所述防撞击结构位于固定伸缩杆上下两端主体的一侧,所述底板的后端安装有两个固定立杆,且固定立杆的顶端案子有传动槽,所述调节结构位于传动槽的内部。本实用新型通过提供有重量传感器,车轮压住重量传感器,重量传感器接收信号,控制气动伸缩杆伸长,通过气动伸缩杆推动限位块,使限位块从开槽的内部伸出,通过限位块将车轮进行限位,该结构实现了对新能源汽车的限位防止滑脱。

服务流程

服务流程

买方卖方

身份 买家提供 卖家提供 交易服务 过户后您将会获得
企业

企业申请

执照

企业营业执照

组织机构代码证

执照

企业营业执照

专利证书证件

专利代理委托书
专利权转让协议
办理文件副本请求书
发明人变更声明

专利委托书

手续合格通知书

专利登记薄副本

个人

个人申请

身份

身份证

执照

身份证

专利证书证件

服务承诺

  • 证明

    确保拿到
    核准专利转让证明

  • 证明

    确保拿到
    转让受理通知书

  • 证明

    专利转让
    全程监控

  • 证明

    专利转让完成
    享受专利最低待遇

  • 证明

    免费客服热线
    快速回复客户问题

安阳高新区国家级示范生产力促进中心

浏览量: 1395712人

联系电话:0372-2110568

传真:0372-2110568

地址:河南省安阳市高新区弦歌大道与峨嵋大街交叉口向东100米路南科创大厦

www.ayipx.cn 版权所有 严禁转载!豫ICP备17028958号 公网安备 41050202000126 河南相映红信息技术有限公司 【后台管理】

0372-2110568