登录  免费注册

安阳高新区国家级示范生产力促进中心

Anyang High-tech Zone National Demonstration Productivity Promotion Center

首页 平台简介 科技成果转移转化 专利监控管理系统(RIMS) 五大产业数据库 科技创新主体展示 技术合同登记展示

一种磷酸铁锂-石墨烯锂离子电池正极片用检测台

发布时间:2025-10-11
  • 专利类型:实用新型
  • 日期 :2025-10-11
  • 专利名称:一种磷酸铁锂-石墨烯锂离子电池正极片用检测台
  • 专利权人 : 安阳师范学院
  • 联系电话 :2110568

交易价格(万元):面谈

专利详情

专利类别 :实用新型 专利号 : 202122425935.2 申请日期 : 2021-10-09
公开日期 :2022-03-01 专利名称 : 一种磷酸铁锂-石墨烯锂离子电池正极片用检测台 专利权人 :安阳师范学院
国际分类号: 暂无 范畴分类号 : 暂无 行业分类 : 暂无
详情介绍:

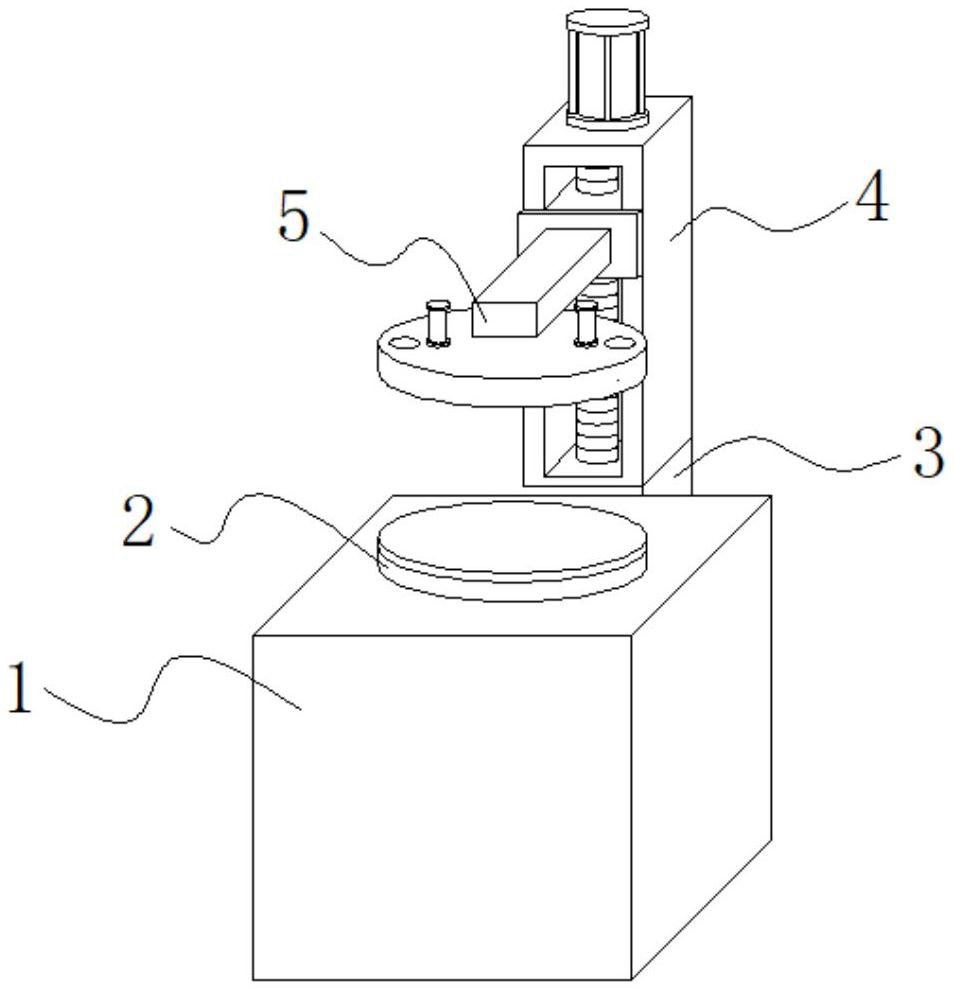
本实用新型涉及一种磷酸铁锂石墨烯锂离子电池正极片用检测台,包括操作台,所述操作台顶部连接有检测架,所述操作台后侧中部固定连接有支撑杆,所述支撑杆顶部固定连接有驱动机构,所述驱动机构前侧连接有观测组件,可以观察记录片上是否有记号笔头按压的颜色标记,能够在存放的检测完毕的正极片中准确的找出有瑕疵的产品,检测过程中不需要工作人员手动拿取正极片进行检测,工作效率大大提高,能够使观测组件与检测架之间的位置进行调整,更加灵活的调节观测正极片的距离,避免工作人员单纯的使用肉眼无法检测到瑕疵的情况,可以对瑕疵品进行标记,避免一次性检测大量的正极片后,无法准确的辨别出装配有瑕疵正极片的放置片。

服务流程

服务流程

买方卖方

身份 买家提供 卖家提供 交易服务 过户后您将会获得
企业

企业申请

执照

企业营业执照

组织机构代码证

执照

企业营业执照

专利证书证件

专利代理委托书
专利权转让协议
办理文件副本请求书
发明人变更声明

专利委托书

手续合格通知书

专利登记薄副本

个人

个人申请

身份

身份证

执照

身份证

专利证书证件

服务承诺

  • 证明

    确保拿到
    核准专利转让证明

  • 证明

    确保拿到
    转让受理通知书

  • 证明

    专利转让
    全程监控

  • 证明

    专利转让完成
    享受专利最低待遇

  • 证明

    免费客服热线
    快速回复客户问题

安阳高新区国家级示范生产力促进中心

浏览量: 1395713人

联系电话:0372-2110568

传真:0372-2110568

地址:河南省安阳市高新区弦歌大道与峨嵋大街交叉口向东100米路南科创大厦

www.ayipx.cn 版权所有 严禁转载!豫ICP备17028958号 公网安备 41050202000126 河南相映红信息技术有限公司 【后台管理】

0372-2110568