登录  免费注册

安阳高新区国家级示范生产力促进中心

Anyang High-tech Zone National Demonstration Productivity Promotion Center

首页 平台简介 科技成果转移转化 专利监控管理系统(RIMS) 五大产业数据库 科技创新主体展示 技术合同登记展示

一种鼻骨假体无痕植入装置及其使用方法

发布时间:2021-09-02
  • 专利类型:发明专利
  • 日期 :2021-09-02
  • 专利名称:一种鼻骨假体无痕植入装置及其使用方法
  • 专利权人 : 匿名
  • 联系电话 :0372-2110568

交易价格(万元):面谈

专利详情

专利类别 :发明专利 专利号 : CN2020101229441 申请日期 : 2020-02-27
公开日期 :2020-05-12 专利名称 : 一种鼻骨假体无痕植入装置及其使用方法 专利权人 :匿名
国际分类号: 暂无 范畴分类号 : 暂无 行业分类 : 暂无
详情介绍:

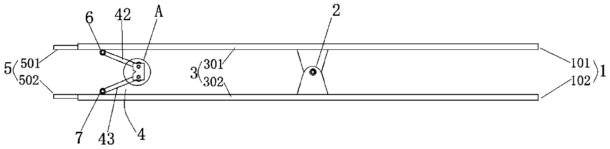
本发明实施例公开了一种鼻骨假体无痕植入装置及其使用方法,属于整形设备技术领域,包括手柄部、铰接轴和支撑部,所述手柄部通过铰接轴与支撑部传动连接;还包括植入机构和撑开机构,所述植入机构设于所述支撑部的中部,所述撑开机构设于所述支撑部的远端,所述植入机构带动鼻骨假体沿所述撑开机构向前移动。因此在使用时,不需要其他器械进行辅助,撑开机构将鼻子切口撑开,植入机构带动夹持体上的鼻骨假体伸入到鼻子切口内,实现了一次性植入到位,简化了手术操作步骤,降低了创伤的程度。本发明结构设计巧妙,简化了整形手术的步骤,提高了手术速度,实现了无痕植入。

服务流程

服务流程

买方卖方

身份 买家提供 卖家提供 交易服务 过户后您将会获得
企业

企业申请

执照

企业营业执照

组织机构代码证

执照

企业营业执照

专利证书证件

专利代理委托书
专利权转让协议
办理文件副本请求书
发明人变更声明

专利委托书

手续合格通知书

专利登记薄副本

个人

个人申请

身份

身份证

执照

身份证

专利证书证件

服务承诺

  • 证明

    确保拿到
    核准专利转让证明

  • 证明

    确保拿到
    转让受理通知书

  • 证明

    专利转让
    全程监控

  • 证明

    专利转让完成
    享受专利最低待遇

  • 证明

    免费客服热线
    快速回复客户问题

安阳高新区国家级示范生产力促进中心

浏览量: 1395951人

联系电话:0372-2110568

传真:0372-2110568

地址:河南省安阳市高新区弦歌大道与峨嵋大街交叉口向东100米路南科创大厦

www.ayipx.cn 版权所有 严禁转载!豫ICP备17028958号 公网安备 41050202000126 河南相映红信息技术有限公司 【后台管理】

0372-2110568