登录  免费注册

安阳高新区国家级示范生产力促进中心

Anyang High-tech Zone National Demonstration Productivity Promotion Center

首页 平台简介 科技成果转移转化 专利监控管理系统(RIMS) 五大产业数据库 科技创新主体展示 技术合同登记展示

一种离子液高压反应釜搅拌装置

发布时间:2021-10-22
  • 专利类型:实用新型
  • 日期 :2021-10-22
  • 专利名称:一种离子液高压反应釜搅拌装置
  • 专利权人 : 匿名
  • 联系电话 :0372-2110568

交易价格(万元):面谈

专利详情

专利类别 :实用新型 专利号 : ZL2015209188548 申请日期 : 2015-11-18
公开日期 :2016-03-30 专利名称 : 一种离子液高压反应釜搅拌装置 专利权人 :匿名
国际分类号: 暂无 范畴分类号 : 暂无 行业分类 : 暂无
详情介绍:

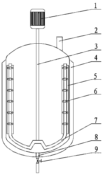
本实用新型公开了一种离子液高压反应釜搅拌装置,包括安装在反应釜釜体上的电机,与电机连接伸入到釜体内部的搅拌轴,设置在搅拌轴上的搅拌桨,设置在釜体内壁上的夹套,设置在釜体上的进料口和出料口,以及安装在出料口的阀门,还包括四氟板,所述四氟板通过螺栓固定在搅拌桨上,所述搅拌桨为锚式搅拌桨,搅拌桨底部连接部位设为凹形形状,所述阀门为上展式放料阀。本实用新型的搅拌桨上固定四氟板,可以避免搅拌桨对反应釜内壁的接触磨损,当四氟板与内壁接触磨损后,还可沿着条形槽移动来调整四氟板与反应釜内壁的距离,从而可以继续搅拌;反应釜的出料口采用上展式放料阀,当出料口有结晶体堵塞时,可以用阀门向上旋转前进,顶破结晶体。


服务流程

服务流程

买方卖方

身份 买家提供 卖家提供 交易服务 过户后您将会获得
企业

企业申请

执照

企业营业执照

组织机构代码证

执照

企业营业执照

专利证书证件

专利代理委托书
专利权转让协议
办理文件副本请求书
发明人变更声明

专利委托书

手续合格通知书

专利登记薄副本

个人

个人申请

身份

身份证

执照

身份证

专利证书证件

服务承诺

  • 证明

    确保拿到
    核准专利转让证明

  • 证明

    确保拿到
    转让受理通知书

  • 证明

    专利转让
    全程监控

  • 证明

    专利转让完成
    享受专利最低待遇

  • 证明

    免费客服热线
    快速回复客户问题

安阳高新区国家级示范生产力促进中心

浏览量: 1395951人

联系电话:0372-2110568

传真:0372-2110568

地址:河南省安阳市高新区弦歌大道与峨嵋大街交叉口向东100米路南科创大厦

www.ayipx.cn 版权所有 严禁转载!豫ICP备17028958号 公网安备 41050202000126 河南相映红信息技术有限公司 【后台管理】

0372-2110568