登录  免费注册

安阳高新区国家级示范生产力促进中心

Anyang High-tech Zone National Demonstration Productivity Promotion Center

首页 平台简介 科技成果转移转化 专利监控管理系统(RIMS) 五大产业数据库 科技创新主体展示 技术合同登记展示

一种锂电池电解液溶剂脱水装置

发布时间:2021-10-22
  • 专利类型:实用新型
  • 日期 :2021-10-22
  • 专利名称:一种锂电池电解液溶剂脱水装置
  • 专利权人 : 匿名
  • 联系电话 :0372-2110568

交易价格(万元):面谈

专利详情

专利类别 :实用新型 专利号 : 2015209187051 申请日期 : 2015-11-08
公开日期 :2016-03-30 专利名称 : 一种锂电池电解液溶剂脱水装置 专利权人 :匿名
国际分类号: 暂无 范畴分类号 : 暂无 行业分类 : 暂无
详情介绍:

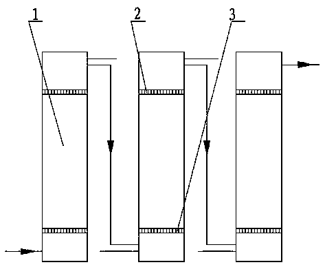
本实用新型公开了一种锂电池电解液溶剂脱水装置,包括分子筛柱、设置在分子筛柱内部的上筛板、下筛板,所述分子筛柱为3个小直径柱体,它们之间相互串联在一起,所述3个分子筛柱上分别设有进、出料管,进、出料管上均设置有阀门。本实用新型采用3个分子筛柱,通过控制液体流速实现连续的进料脱水,提高脱水效率;并且可以通过改变3个分子筛柱的进、出料顺序来有效利用其中的分子筛,不必全部更换分子筛,减少了生产成本。


服务流程

服务流程

买方卖方

身份 买家提供 卖家提供 交易服务 过户后您将会获得
企业

企业申请

执照

企业营业执照

组织机构代码证

执照

企业营业执照

专利证书证件

专利代理委托书
专利权转让协议
办理文件副本请求书
发明人变更声明

专利委托书

手续合格通知书

专利登记薄副本

个人

个人申请

身份

身份证

执照

身份证

专利证书证件

服务承诺

  • 证明

    确保拿到
    核准专利转让证明

  • 证明

    确保拿到
    转让受理通知书

  • 证明

    专利转让
    全程监控

  • 证明

    专利转让完成
    享受专利最低待遇

  • 证明

    免费客服热线
    快速回复客户问题

安阳高新区国家级示范生产力促进中心

浏览量: 1395951人

联系电话:0372-2110568

传真:0372-2110568

地址:河南省安阳市高新区弦歌大道与峨嵋大街交叉口向东100米路南科创大厦

www.ayipx.cn 版权所有 严禁转载!豫ICP备17028958号 公网安备 41050202000126 河南相映红信息技术有限公司 【后台管理】

0372-2110568