登录  免费注册

安阳高新区国家级示范生产力促进中心

Anyang High-tech Zone National Demonstration Productivity Promotion Center

首页 平台简介 科技成果转移转化 专利监控管理系统(RIMS) 五大产业数据库 科技创新主体展示 技术合同登记展示

一种四轮转向汽车

发布时间:2022-03-09
  • 专利类型:发明专利
  • 日期 :2022-03-09
  • 专利名称:一种四轮转向汽车
  • 专利权人 : 匿名
  • 联系电话 :0372-2110568

交易价格(万元):面谈

专利详情

专利类别 :发明专利 专利号 : ZL201110142590.8 申请日期 : 2021-05-30
公开日期 :2021-11-23 专利名称 : 一种四轮转向汽车 专利权人 :匿名
国际分类号: 暂无 范畴分类号 : 暂无 行业分类 : 暂无
详情介绍:

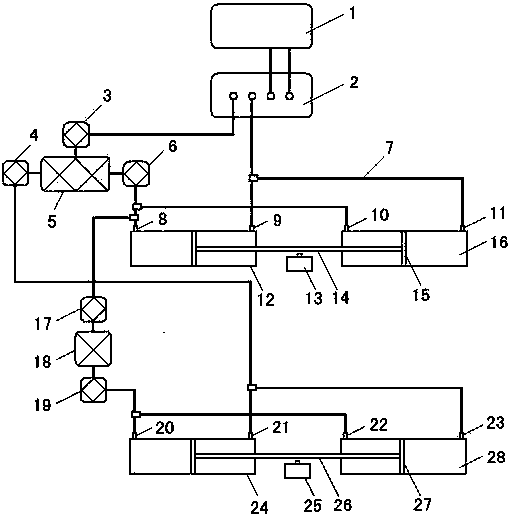
一种四轮转向汽车,本发明涉及汽车前/后转向拉杆两端的活塞分别置于横向设置的左右两前/后液压缸内,两前/后液压缸间的前/后转向拉杆中部对应位置设置有前/后传感器;助力泵与液压缸间的油路上设置有电磁阀,双向电磁阀由助力泵上的油路输入,并控制输出两个前/后液压缸左路/右路的油路及两个后液压缸右路/左路的油路,单路电磁阀由前液压缸左路/右路的油路输入,并控制输出两个后液压缸左路/右路的油路,两个前液压缸右路/左路的油路输出至助力泵;两个传感器向控制电路提供转向拉杆的位置信号,控制电路控制电磁阀在前后轮正位时倒向、开启或关闭。本发明有益的效果:前后轮同时转向,转向半径小;后轮可锁定,不影响正常行驶。


服务流程

服务流程

买方卖方

身份 买家提供 卖家提供 交易服务 过户后您将会获得
企业

企业申请

执照

企业营业执照

组织机构代码证

执照

企业营业执照

专利证书证件

专利代理委托书
专利权转让协议
办理文件副本请求书
发明人变更声明

专利委托书

手续合格通知书

专利登记薄副本

个人

个人申请

身份

身份证

执照

身份证

专利证书证件

服务承诺

  • 证明

    确保拿到
    核准专利转让证明

  • 证明

    确保拿到
    转让受理通知书

  • 证明

    专利转让
    全程监控

  • 证明

    专利转让完成
    享受专利最低待遇

  • 证明

    免费客服热线
    快速回复客户问题

安阳高新区国家级示范生产力促进中心

浏览量: 1395964人

联系电话:0372-2110568

传真:0372-2110568

地址:河南省安阳市高新区弦歌大道与峨嵋大街交叉口向东100米路南科创大厦

www.ayipx.cn 版权所有 严禁转载!豫ICP备17028958号 公网安备 41050202000126 河南相映红信息技术有限公司 【后台管理】

0372-2110568