登录  免费注册

安阳高新区国家级示范生产力促进中心

Anyang High-tech Zone National Demonstration Productivity Promotion Center

首页 平台简介 科技成果转移转化 专利监控管理系统(RIMS) 五大产业数据库 科技创新主体展示 技术合同登记展示

一种自补偿电缆桥架

发布时间:2022-03-10
  • 专利类型:发明专利
  • 日期 :2022-03-10
  • 专利名称:一种自补偿电缆桥架
  • 专利权人 : 匿名
  • 联系电话 :0372-2110568

交易价格(万元):面谈

专利详情

专利类别 :发明专利 专利号 : 2021100722012 申请日期 : 2021-01-20
公开日期 :2021-05-18 专利名称 : 一种自补偿电缆桥架 专利权人 :匿名
国际分类号: 暂无 范畴分类号 : 暂无 行业分类 : 暂无
详情介绍:

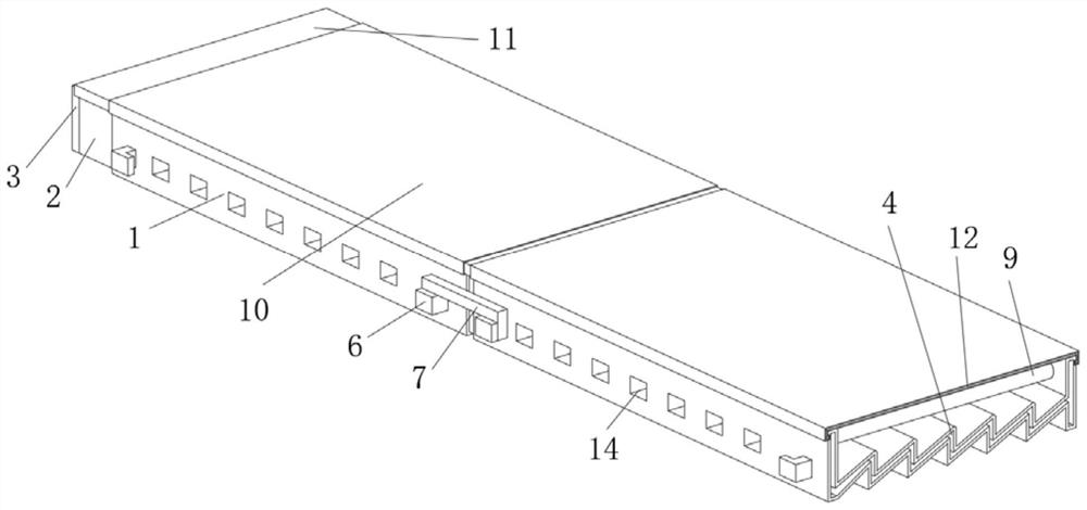
本发明涉及电力设备技术领域,且公开了一种自补偿电缆桥架,包括桥箱,所述桥箱的一端固定连接有调整凸起,且另一端开设有调整槽,所述调整凸起的一端固定连接有橡胶层,所述桥箱的顶部外侧开设有卡接槽,所述桥箱的底部外侧两端固定连接有对称的扣合凸起。本发明通过设计的调整凸起、调整槽、橡胶层以及锁扣,使相邻桥架在安装时获得橡胶层和锁扣提供的预应力,使得桥架在发生伸缩与位移时,橡胶层与锁扣提供的预应力将对其进行消除,保证桥架的安全,当桥架的伸缩与位移产生的力使预应力失效后,锁扣松动,此时桥架的伸缩与位移将通过调整凸起与调整槽自由滑动完成自动调整,同时避免了桥架的掉落。

服务流程

服务流程

买方卖方

身份 买家提供 卖家提供 交易服务 过户后您将会获得
企业

企业申请

执照

企业营业执照

组织机构代码证

执照

企业营业执照

专利证书证件

专利代理委托书
专利权转让协议
办理文件副本请求书
发明人变更声明

专利委托书

手续合格通知书

专利登记薄副本

个人

个人申请

身份

身份证

执照

身份证

专利证书证件

服务承诺

  • 证明

    确保拿到
    核准专利转让证明

  • 证明

    确保拿到
    转让受理通知书

  • 证明

    专利转让
    全程监控

  • 证明

    专利转让完成
    享受专利最低待遇

  • 证明

    免费客服热线
    快速回复客户问题

安阳高新区国家级示范生产力促进中心

浏览量: 1395964人

联系电话:0372-2110568

传真:0372-2110568

地址:河南省安阳市高新区弦歌大道与峨嵋大街交叉口向东100米路南科创大厦

www.ayipx.cn 版权所有 严禁转载!豫ICP备17028958号 公网安备 41050202000126 河南相映红信息技术有限公司 【后台管理】

0372-2110568