登录  免费注册

安阳高新区国家级示范生产力促进中心

Anyang High-tech Zone National Demonstration Productivity Promotion Center

首页 平台简介 科技成果转移转化 专利监控管理系统(RIMS) 五大产业数据库 科技创新主体展示 技术合同登记展示

一种可自动绞制缠绕的高压电缆线制造机构

发布时间:2022-03-10
  • 专利类型:发明专利
  • 日期 :2022-03-10
  • 专利名称:一种可自动绞制缠绕的高压电缆线制造机构
  • 专利权人 : 匿名
  • 联系电话 :0372-2110568

交易价格(万元):面谈

专利详情

专利类别 :发明专利 专利号 : 2020106749584 申请日期 : 2020-07-14
公开日期 :2020-10-30 专利名称 : 一种可自动绞制缠绕的高压电缆线制造机构 专利权人 :匿名
国际分类号: 暂无 范畴分类号 : 暂无 行业分类 : 暂无
详情介绍:

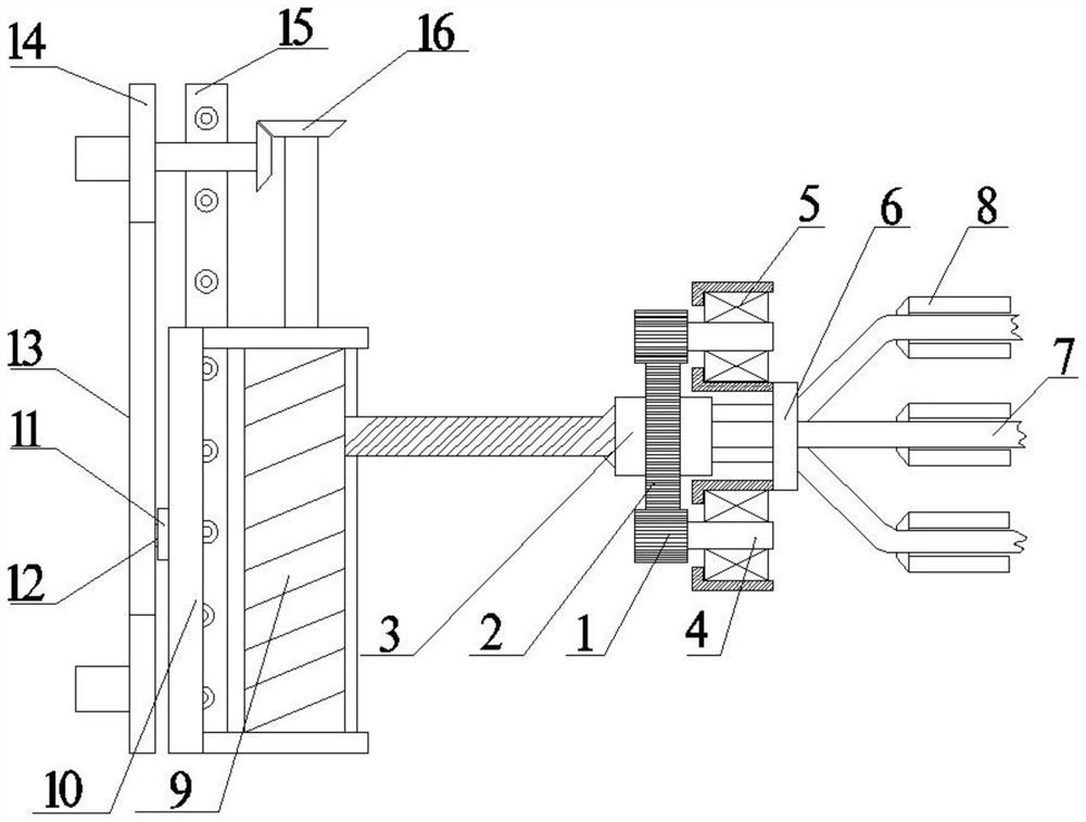
本发明涉及钢索绞制技术领域,且公开了一种可自动绞制缠绕的高压电缆线制造机构,包括主动轮,所述主动轮的内部固定连接有连接轴,所述连接轴的外侧转动连接有限位轴承,所述限位轴承的右侧固定连接有集束器。该可自动绞制缠绕的高压电缆线制造机构,通过连接轴带动主动轮旋转,主动轮带动从动轮旋转,从动轮带动旋转模具旋转,旋转模具带动钢丝运行,再通过钢丝输入机构和集束器等机构的配合使用,从而达到钢丝的自动绞制效果,通过链轮带动链条旋转,链条带动移动块运行,移动块带动移动板运行,移动板带动缠绕筒移动,链轮带动锥齿轮机构旋转,锥齿轮机构带动缠绕筒旋转,再通过滑轨和轨道等机构的配合使用,从而达到钢索的自动缠绕效果。

服务流程

服务流程

买方卖方

身份 买家提供 卖家提供 交易服务 过户后您将会获得
企业

企业申请

执照

企业营业执照

组织机构代码证

执照

企业营业执照

专利证书证件

专利代理委托书
专利权转让协议
办理文件副本请求书
发明人变更声明

专利委托书

手续合格通知书

专利登记薄副本

个人

个人申请

身份

身份证

执照

身份证

专利证书证件

服务承诺

  • 证明

    确保拿到
    核准专利转让证明

  • 证明

    确保拿到
    转让受理通知书

  • 证明

    专利转让
    全程监控

  • 证明

    专利转让完成
    享受专利最低待遇

  • 证明

    免费客服热线
    快速回复客户问题

安阳高新区国家级示范生产力促进中心

浏览量: 1395964人

联系电话:0372-2110568

传真:0372-2110568

地址:河南省安阳市高新区弦歌大道与峨嵋大街交叉口向东100米路南科创大厦

www.ayipx.cn 版权所有 严禁转载!豫ICP备17028958号 公网安备 41050202000126 河南相映红信息技术有限公司 【后台管理】

0372-2110568