登录  免费注册

安阳高新区国家级示范生产力促进中心

Anyang High-tech Zone National Demonstration Productivity Promotion Center

首页 平台简介 科技成果转移转化 专利监控管理系统(RIMS) 五大产业数据库 科技创新主体展示 技术合同登记展示

一种消炎一体式纳米微针中胚层导入美容仪

发布时间:2023-09-14
  • 专利类型:发明专利
  • 日期 :2023-09-14
  • 专利名称:一种消炎一体式纳米微针中胚层导入美容仪
  • 专利权人 : 匿名
  • 联系电话 :0372-2110568

交易价格(万元):面谈

专利详情

专利类别 :发明专利 专利号 : 2020112612540 申请日期 : 2020-11-12
公开日期 :2021-02-19 专利名称 : 一种消炎一体式纳米微针中胚层导入美容仪 专利权人 :匿名
国际分类号: 暂无 范畴分类号 : 暂无 行业分类 : 暂无
详情介绍:

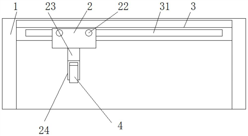
本发明属于美容仪器技术领域,具体涉及一种消炎一体式纳米微针中胚层导入美容仪,包括外壳,所述外壳内壁上设有相互平行且对称分布的导流板,所述导流板内设有导流槽,所述外壳内部设有调节箱,所述调节箱内设有多个相互平行且可转动的调节杆,所述调节杆两端分别与导流槽滑动连接,所述调节箱内设有用于带动调节箱在调节杆上来回运动的调节机构,所述调节箱底部设有固定连接的第一液压杆,所述第一液压杆底部设有固定连接的连接块,所述连接块底部设有相连接且用于中胚层导入的纳米微针仪,所述外壳内壁上设有多个用于消炎的红外灯,红外灯的设计,使纳米微针在中胚层导入后,能够及时的进行消炎,将时间充分利用,提高整体的效率。

服务流程

服务流程

买方卖方

身份 买家提供 卖家提供 交易服务 过户后您将会获得
企业

企业申请

执照

企业营业执照

组织机构代码证

执照

企业营业执照

专利证书证件

专利代理委托书
专利权转让协议
办理文件副本请求书
发明人变更声明

专利委托书

手续合格通知书

专利登记薄副本

个人

个人申请

身份

身份证

执照

身份证

专利证书证件

服务承诺

  • 证明

    确保拿到
    核准专利转让证明

  • 证明

    确保拿到
    转让受理通知书

  • 证明

    专利转让
    全程监控

  • 证明

    专利转让完成
    享受专利最低待遇

  • 证明

    免费客服热线
    快速回复客户问题

安阳高新区国家级示范生产力促进中心

浏览量: 1395730人

联系电话:0372-2110568

传真:0372-2110568

地址:河南省安阳市高新区弦歌大道与峨嵋大街交叉口向东100米路南科创大厦

www.ayipx.cn 版权所有 严禁转载!豫ICP备17028958号 公网安备 41050202000126 河南相映红信息技术有限公司 【后台管理】

0372-2110568